一品楼ypl论坛,一品凤楼论坛的官网入口,辽宁楼凤论坛qm,一品楼免费论坛

关于环网柜的详细介绍

发布时间:2021-07-19 10:03:15

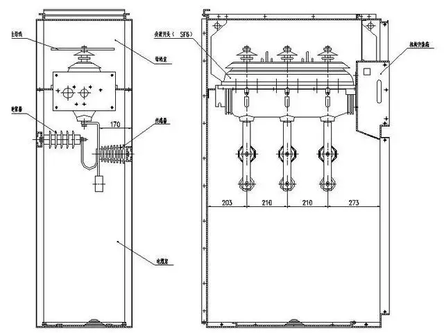
1环网柜的部件组成

环网柜,也被称为环网供电的单位,是一组高压开关设备装在钢板金属柜体内或做成拼装间隔式环网供电单元的电气设备,其核心部分采用负荷开关和熔断器。每个环网柜由 3 5 路总开关盒形成的灵活连接模式,以满足不同电力分配网络节点的供电需求。由于电源开关装置和硬母线被封装在同一个封闭的金属外壳,一般使用作为绝缘和灭弧介质,开关采用三相联动的三工位 SF6 气体负荷开关或断路器,高性能的弹簧机构可以实现快速分开关运作。一个单独的环网单元从进线单位、计量单位、TV 单位等不同的??楹湍赶叩ピ槌桑⒖梢愿菔导市枰我庾楹细髦植煌姆桨?。

2环网柜的分类

环网柜一般分为空气绝缘、固体绝缘和SF6绝缘三种,用于分合负荷电流,开断短路电流及变压器空载电流,一定距离架空线路、电缆线路的充电电流,起控制和保护作用,是环网供电和终端供电的重要开关设备。

柜体中,配空气绝缘的负荷开关主要有产气式、压气式、真空式,配     SF6绝缘的负荷开关为SF6式,由于SF6气体封闭在壳体内,它形成的隔 断断口不可见?;吠裰械母汉煽兀话阋笕の?,即切断负荷,隔离电路、可行靠接地。

产气式、压气式和SF6式负荷开关易实现三工位,而真空灭弧式只能开断,不能隔离,所以一般真空负荷环网开关柜在负荷开关前再加上一个隔离开关,以形成隔离断口。

 

3环网柜的结构特点

a、环网柜由开关室、熔断器室、操动机构室和电缆室(底架)四部分组  成。

b、开关室由密封在金属壳体内的各个功能回路(包括接地开关和负荷开关)及其回路间的母线等组成??翘逵?/span>3㎜冷轧钢板(或不绣钢板)焊接而成。每一个功能回路包括一台负荷开关和接地开关。负荷开关是由垂直运动的动触头系统和位于下端的静触头组成,开关合闸时,动触头向下运动,负荷开关接通。接地开关由动触刀和静触刀组成,在弹簧运动过程中,接地开关快速接通??厥疑喜亢秃蟛靠?/span>4个长方形装配工艺孔,环网柜的正面装有观察窗,可看到接地开关的“分”、“合”位置。在环网柜的后部装有防爆装置。

c、负荷开关采用压气内吹式结构,灭弧能力强,且不影响相间及对地绝缘,动、静触头均带有弧触头,大大提高了开断次数。

d、熔断器与负荷开关室构成变压器保护回路,高压限流熔断器装于环氧浇注的绝缘壳体内,熔断器熔断后,弹出撞针,负荷开关分闸。

e、操动机构室位于环网柜正面,在每个功能回路中,负荷开关配有人力(或电动)储能弹簧操动机构,接地开关配有人力储能弹簧操动机构,面板上有分别用于负荷开关合闸操作和手动分闸旋转钮及接地开关的分、合闸操作孔,负荷开关分、合闸位置指示灯和电动分、合闸按钮,并设有模拟线、开关状态显示牌及加锁位置,负荷开关和接地开关的操作具有联锁装置,以防止误操作。